傾斜パイプ用アンテナ取付金具
| 型名 | 取付金具 | M型基台付ケーブル | 価格 |
|---|---|---|---|
| ST14 | 角材対応 ノーマルタイプ |
無 | ¥4,500(税別) |
| ST14C | 角材対応 ノーマルタイプ |
有 | 生産終了 |
| ST14L | 角材対応 ロングタイプ |
無 | ¥4,500(税別) |
| ST14LC | 角材対応 ロングタイプ |
有 | 生産終了 |
| ST15 | 丸材対応 | 無 | ¥4,500(税別) |
| ST15C | 丸材対応 | 有 | 生産終了 |
| ※ 寸法は下記寸法図をご参照下さい | |||
TOPST14/ST15シリーズ










斜め対応アンテナ取付金具
傾斜している部分でアンテナを垂直に立てる事ができるアンテナ取付金具です。軽トラ鳥居等に最適です。
3mm厚オールステンレス製
錆びにくく、頑丈なオールステンレス製の3mm厚アンテナ取付金具です。
M型基台取付穴
φ16.2の取付穴が空いており、M型ジャックタイプの取付が可能です。※3mm板厚取付対応のコネクタをご使用下さい。
[ST14シリーズ] 角材対応タイプ
上図2枚の取付金具で取付部(角パイプ等)を挟み、六角ボルトで固定します。
仕様 (金具部)| 取付金具板厚 | 3mm |
| [ST14シリーズ] 六角ボルト |
M6×40mm |
| [ST15シリーズ] U35適合パイプ径 |
φ10~35 |
| [ST15シリーズ] U45適合パイプ径 |
φ16~45 |
仕様 (M型基台付ケーブル)| 接栓 | MP-MLJ |
| ケーブル | 2.5D |
| ケーブル長 | 約3.5m |
| 重量 | 約157g |
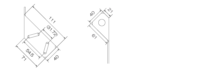
ST14寸法図ノーマルタイプ
ST14寸法図ロングタイプ
ST15寸法図